
波音737系列客机是波音公司生产的一种中短程、双发喷气式客机,被称为世界航空史上最成功的窄体民航客机,具有可靠、简捷、运营和维护成本低等特点,是目前民航飞机系列中生产历史最长、交付量最多的飞机。目前市场上主流737为-300/-400/-500型,最新一代737为737-NG(next-generation)。
2 波音B737液压系统简介
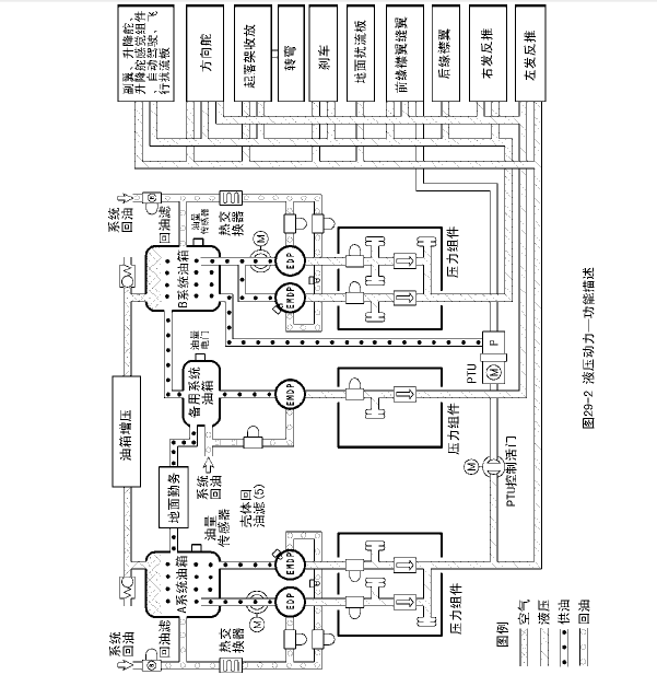
波音737也有三个液压系统:system A、system B 和standby system。3套系统都能独立为所有飞行系统提供液压动力,每套系统均有一个位于主轮舱区域的的液压油箱。正常情况下,system A 和system B 在飞机飞行过程中始终是有压力的。system A、system B使用1个发动机驱动泵和1个电马达驱动泵备用系统使用1个电马达驱动泵。standby system油箱与system B油箱相连,用于增压和地面勤务,当system A和/或system B失效即压力丧失时,由standby system为飞机提供液压动力,可以用来为操控方向舵、反向推力装置和伸出前缘装置提供动力。当遇到失效情况时,波音737飞机system B 失效通过PTU由system A 电动泵供压,system A和/或system B失效即压力丧失时由standby system供压;下图1为B737的液压系统。
系统A与系统B是飞机主液压系统,正常飞行状态下由系统A 和系统B提供飞机飞行控制所需压力;A/B 系统泵配置均由一个EDP和一个EMP组成;A/B系统的正常压力由系统中的EDP提供,如果EDP失效,由EMP为A/B系统补充压力;备用系统由EMP 为飞机提供动力。B737液压系统中的PTU 为单向动力传递,即只有当B 系统中出现严重低压现象时,PTU 在A系统的动力驱动下,将动力传递给B 系统用户,由于传递过程使用同轴连接结构,可保证两系统不发生串油现象;两系统都可以通过起落架转换阀对起落架系统进行供压,保证两主系统都可以对起落架液压系统进行独立控制。
图1 B737的液压系统
3 主要部件
每个液压系统都有它自己的油箱在油箱,增压系统的压力下向各自系统液压泵供应液压油。
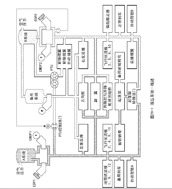
如图29-3A,系统和B系统液压油箱位于主起落架轮舱的前壁板上,A系统油箱25.8升较小,在中间B系统油箱40.6升较大,在右侧。备用系统液压油箱在主起落架轮舱的龙骨梁上容积更小,只有13.3升见图29-6 。
A系统和B系统液压油箱里都有个竖管A系统的竖管只为A系统EDP供应液压油而B系统的竖管,则同时为EDP和EMDP供油,A系统液压油箱底部的出油口为A系统EMDP供油,B系统油箱底部出油口则为PTU供油。参见图29-4 。
备用系统油箱顶部与B系统油箱之间有一条加油平衡管,可将备用系统油箱
的过量液压油输送回B系统油箱,承受备用系统油箱的热膨胀,将B系统油箱压力传到备用系统油箱。该平衡管在B系统油箱的接口位于油箱72%容积水平线上,可保证备用系统渗漏不会使B系统油箱的油量低于72% 。
两个主系统液压油箱底部有人工放油活门,还有液压油油量传感/指示器,而备用液压则没有放油活门和油量传感器,只有低油量电门。所有的油箱都通过地面勤务系统进行加油 。
油箱增压组件与释压活门、空气压力表、压力释放活门等组成了油箱增压系统,都位于主起落架轮舱前壁板上参见图29-329-4 。
油箱增压组件由引气系统增压,再把气压施加到A系统和B系统的液压油箱里,使得液压油的供应持续有效。对备用系统油箱的压力来自B系统油箱,是通过一条连接B系统和备用系统油箱的加油平衡管来实现的。
在增压组件与液压油箱之间有一个油箱减压活门,维护中可以通过这个活门将液压油箱中的空气压力放掉。
在液压油箱上与释压活门之间,装有空气压力表,用来指示油箱压力。
在A和B系统液压油箱顶部附近,各装有释压活门。当空气压力达到60-65psi时,该活门自动打开,将多余压力通过APU燃油管套放油杆释放出去。
两个EDP分别为A系统B系统提供液压压力。这种柱塞式、变位移、凸轮作动、压力补偿的液压泵,安装在每台发动机的附件齿轮箱前面的左侧。参见图29-5
EDP上除了供油压力、输出壳体、回油管外,还有释压电磁阀。EDP正常输出量为36gpm,输出压力为3000psi 。
两个主系统和备用系统各有一个EMDP提供液压压力。
2 主系统EMDP
如图29-3,AB系统EMDP通过吸振垫安装在主起落架轮舱前壁板中央,由三相油冷交流马达、离心泵、单级变位移压力补偿型液压泵组成。EMDP正常输出量为5.7gpm,输出压力为2700psi 。
如图29-6,备用系统EMDP位于翼身整流罩右后部,刹车储压器的内侧,包括一个三相交流马达和液压泵组成。其正常输出量为3.7gpm,输出压力为2700psi。
PTU系统只为前缘襟翼,缝翼提供备用液压动力,如果B系统EDP压力低于正常值, PTU系统压力可用于正常操纵。或者自动缝翼操纵PTU系统主要由PTU、单向活门、PTU过滤器、限流器、PTU控制活门、EDP压力电门自动缝翼系统组成。
PTU由连接在同一轴上的液压马达和液压泵组成,液压马达由A系统驱动,液压泵从B系统液压油箱。得到供油PTU控制活门可以控制A系统的压力进入PTU。
PTU位于主起落架轮舱龙骨梁上,其它部件都位于轮舱前壁板上,如图29-3 。
在A系统和B系统上,分别有EDP供油关断活门用来隔离系统,见图29-3,该活门位于EDP的上游,EDP与相应液压油箱之间供油管路上,安装在主起落架轮舱前壁板的左右两侧、
压力组件由过滤器、低压电门、EDP压力电门自动缝翼系统、仅B系统单向活门、压力传感器、压力释放活门等构成,位于主起落架轮舱前壁板上,如图29-3 。
备用系统压力组件位于主起落架轮舱前壁板,备用油箱之后,见图29-6 。
压力组件主要功能是分配液压压力给用户系统、清洁压力油、监控液压泵和系统压力、高压保护。
壳体回油滤组件使来自EDP和EMDP的壳体回油,在进入热交换器之前得到清洁。EDP壳体回油滤位于相应发动机EDP壳体回油管上,EMDP壳体回油滤则在主起落架轮舱前壁板,相应的EMDP的下面,见图29-3 。
备用系统壳体回油滤位于主起落架轮舱后壁板上,见图29-6。
热交换器将壳体回油在回到液压油箱之前进行冷却,AB系统热交换器分别位于左右机翼燃油箱的底部。
回油滤将液压油在回到油箱之前过滤一下,AB系统回油滤位于主起落架轮舱前壁板上,相应液压油箱下面。
利用地面勤务断开组件,可以通过地面勤务车对AB液压系统打压,每个断开组件有压力接头、回油接头和压力油滤。如图29-8,AB系统地面勤务断开组件,分别位于左右冲压空气舱的后壁板上。
通过地面勤务系统可以在一个位置对多有的液压油箱加油,地面勤务组件位于主起落架轮舱前壁板的右下侧,如图29-7,它包含油箱加油选择活门、加油过滤器、手动加油泵和压力加油接口。A系统与备用系统油箱有加油管直接与加油选择活门相连。B系统油箱通过加油平衡管加油。
油箱加油选择活门用来选择需要加油的油箱。它有三个位置:AB和关闭,选择AB可以为AB系统油箱加油,加完油后一定要将选择活门手柄放在关闭位。加油步骤参见第三节。
在人工加油操作时,将手动加油泵吸管的一端接到手动加油泵上,另一端放到液压油容器中,在不用时,要将这一端装在保护罩内。
检查液压油量或加油时,飞机应处在如下状态:
. 飞行操纵中立
. 前缘襟翼和缝翼收起
. 后缘襟翼收起
. 扰流板放下
. 起落架放下
. 反推关闭
. A和B液压系统关闭
. 刹车储压器不低于2800psi
液压油在高空的冷却和出发地和目的地环境温度的巨大差异会导致液压油量降低,这种冷浸现象对系统操作没有影响,即使在前一次飞行前在温暖的地方进行过油箱勤务。这种情况下,如果在飞机回到温暖地方之前,在冷的地方将油箱油量加得多,会导致油箱的液压油溢出,并从排放管中流出。
如果到达地的环境温度不超过20F (6),并且油箱油量低于RFL加油,则加液压油刚好超过RFL加油位置,以免到下一温暖目的地时,液压油溢出。
4 系统控制与指示
液压系统的控制在P5头顶面板上的液压面板飞行操纵面板,和P8的过热/防火面板上,液压指示则除了上述面板外还有左右主警告灯和系统显示,以及油量表等。如图29-9所示,液压面板位于头顶面板的右中部。飞行操纵面板位于P5面板的左中部。
主系统液压泵的控制在液压面板上,每个泵都有一个对应的电门。如图29-9,ENG 1 HYD PUMP电门控制A系统EDP,ENG 2 HYD PUMP电门控制B系统EDP每个EDP,都有一个释压电磁筏,如图29-5。所示当ENG 1 或ENG 2 HYD PUMP电门放在OFF位时,释压电磁筏会阻断向相应系统的液压输出。ELEC 2 HYD PUMP电门控制A系统EMDP,ELEC 1 HYD PUMP电门控制B系统EMDP 。
EDP供油关断活门由位于过热/防火面板上的发动机灭火手柄操纵,当拔出发动机灭火手柄时,液压面板相应EDP上的LOW PRESSURE琥珀灯解除预位,同时EDP供油关断活门关闭,切断相应EDP的液压油供应。
注意:不要旋转灭火手柄,如果旋转灭火手柄,灭火瓶会释放灭火剂。
P5飞行操纵面板上的四个电门控制备用液压系统。如图29-9,它们是:飞行操纵FLT CONTROL A和B,备用襟翼ALTERNATE FLAPS预位和控制电门,
将FLT CONTROL A或B放在备用方向舵STBY RUD位,可以起动备用系统EMDP并打开备用系统组件的备用方向舵关断活门。
将备用襟翼ALTERNATE FLAPS预位电门放在预位ARM位,可以起动备用系统EMDP 。
而将备用襟翼ALTERNATE FLAPS控制电门放在放下DOWN位,可立刻打开备用系统组件的前缘襟翼和缝翼关断活门。
PTU是由PTU控制活门控制的,如图29-2所示,当该活门打开时,PTU会自动工作。PTU控制活门打开条件是:飞机在空中,后缘襟翼位置在1到10之间,B系统EDP压力低,如果上述任一条件不能达到,则PTU控制活门自动关闭。
可以通过P5飞行操纵面板上一些备用系统电门,来人工关断该活门方法是将备用襟翼ALTERNATE FLAPS放在预位ARM位,然后将备用襟翼控制电门放到放下DOWN位。